联系我们  |  加入收藏  |  设为主页
 
产品列表 PRODUCT
化工容器
反应釜设备系列
    -不锈钢反应釜
    -蒸汽加热导热油循环加热反应釜
    -外半管、盘管式反应釜
    -多功能分散釜
    -不饱和树脂、涂料设备
    -红外线加热高温反应釜
换热设备系列
    -列管式冷凝器
    -卫生级冷凝器
    -气-水热交换器
    -螺旋板式换热器
    -列管换热器系列
    -容积式加热、浮头式换热器
发酵、过滤、提取设备
    -发酵罐系列
    -多功能提取罐系列
    -种子罐
    -F型提取罐系列
    -中药酒精沉淀罐
    -空气、蒸汽、液体过滤器
    -DL系列袋式过滤器
    -IG-1.5型列管式过滤器
干燥、分散、混合设备
    -真空耙式干燥器
    -LG系列离心式刮板薄膜蒸发器
    -BM系列薄膜蒸发器
    -结晶(加热)切片机
    -圆筒式干燥器
蒸馏浓缩设备系列
    -真空减压浓缩罐
    -ZN-C型新型浓缩罐
    -WZN型外循环浓缩锅
    -ZN型真空减压浓缩罐
    -动态热回流提取浓缩罐
    -WZI型外加热式真空蒸发器
    -WZ 11 500-2000系列双效浓缩器(能回收酒精)
    -WZ 111 500-5000系列三效节能外循换环真空浓缩器(能回收酒精)
    -精馏回收塔
    -塔设备
    -酒精回收塔
    -切片机
    -Z系列高效旋转薄膜蒸发器
乳化设备系列
    -真空均质乳化机
蓄热器
蒸汽蓄热器
    -蒸汽蓄热器
    -蒸汽蓄热器(储能器)
除氧器
高效热力除氧器
    -高效热力除氧器
常温过滤式除氧器
    -常温过滤式除氧器
化学除氧器
    -化学除氧器
水处理设备系列
水过滤设备
    -机械过滤器
    -活性碳过滤器
    -多介质过滤器
    -保安过滤器(精密过滤器)
    -UF超滤装置
软化处理设备
    -逆流再生钠离子交换器
    -全自动软水器
RO反渗透装置
    -RO反渗透装置
节能器(余热利用回收)系列
冷凝水回收装置
    -冷凝水回收装置
锅炉自动排污节能装置
    -锅炉自动排污节能装置
节能型连续排污收能器
    -热管节能器(热管省煤器)
    -热管节能器(热管空预器)
    -热管蒸汽发生器(余热锅炉)
    -节能型连续排污收能器
其它设备系列
除污器、汽水分离器
    -除污器、汽水分离器
连(定)期排污膨胀器
    -连(定)期排污膨胀器
在线留言
欢迎来到留言系统,我们会
及时回复信息,请留心查阅。
产品展示/Product Show
●您所在位置>>首页>>产品展示
 
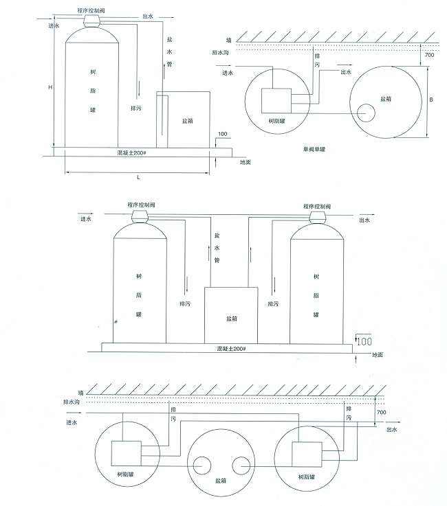
全自动软水器

设备安装示意图

« 1 2 3 »

上一页:逆流再生钠离子交换器
下一页:RO反渗透装置
    
 
 
Copyright © 2013 无锡川汇热电设备制造有限公司专业生产专业生产容积式换热器,节能蓄热器,储能器 All Rights Reserved.
地址:无锡滨湖区山水东路818号 邮编:214084 电话:0510-85553773/85555807
传真:0510-85550056 网址:http://www.wxchrd.com

无锡网络公司:君通科技